Презентация, доклад Контроль технического состояния

Содержание

ТЕХНИЧЕСКИЙ РЕГЛАМЕНТ «О безопасности автотранспортных средств в эксплуатации» Автотранспортные средстваТРЕБОВАНИЯ БЕЗОПАСНОСТИК ТЕХНИЧЕСКОМУ СОСТОЯНИЮИ МЕТОДЫ ПРОВЕРКИ

Слайд 1Министерство образования Иркутской области ОБГОУ СПО «ИТТриС»

Требования безопасности к техническому

состоянию АТС. Методы проверки

Подготовил преподаватель Федосеев В.С.

2013 год

Министерство образования Иркутской области ОБГОУ СПО «ИТТриС»    Требования безопасности к техническому состоянию АТС. Методы

Слайд 2
ТЕХНИЧЕСКИЙ РЕГЛАМЕНТ «О безопасности автотранспортных средств в эксплуатации»

Автотранспортные средства
ТРЕБОВАНИЯ БЕЗОПАСНОСТИ
К

ТЕХНИЧЕСКОМУ СОСТОЯНИЮ
И МЕТОДЫ ПРОВЕРКИ

ТЕХНИЧЕСКИЙ РЕГЛАМЕНТ  «О безопасности автотранспортных средств  в эксплуатации» Автотранспортные средстваТРЕБОВАНИЯ БЕЗОПАСНОСТИК ТЕХНИЧЕСКОМУ СОСТОЯНИЮИ МЕТОДЫ ПРОВЕРКИ

Слайд 3ПЕРЕЧЕНЬ категорий АТС по классификации

ПЕРЕЧЕНЬ категорий АТС по классификации

Слайд 4ПЕРЕЧЕНЬ категорий АТС по классификации

ПЕРЕЧЕНЬ категорий АТС по классификации

Слайд 5Периодические испытания (контроль) АТС
2.1. Автотранспортные средства категорий:
- М1 (легковые автомобили), используемые

для перевозки пассажиров на коммерческой основе;
- М2 и М3 (автобусы);
- N1, N2 и N3 (грузовые автомобили), оборудованные для систематической перевозки людей, с числом мест для сидения более восьми (кроме места водителя);
- а также автотранспортные средства и прицепы к ним для перевозки крупногабаритных, тяжеловесных и опасных грузов
подлежат испытаниям (контролю) с периодичностью - 6 месяцев.

Периодические испытания (контроль) АТС2.1. Автотранспортные средства категорий:- М1 (легковые автомобили), используемые для перевозки пассажиров на коммерческой основе;

Слайд 6Периодические испытания (контроль) АТС
2.2. Автотранспортные средства категорий:
- L3, L4, L5 (мототранспортные

средства);
- М1 (легковые автомобили);
- N1 (грузовые автомобили с разрешенной максимальной массой до 3,5 тонн);
- О1, О2 (прицепы и полуприцепы с разрешенной максимальной массой до 3,5 тонн);
за исключением указанных в п.п. 2.1 и 2.4. настоящей статьи
с года выпуска которых прошло не более 2 лет - подлежат испытаниям (контролю) с периодичностью - 36 месяцев;
с года выпуска которых прошло не более 7 лет - подлежат испытаниям (контролю) с периодичностью - 24 месяцев;
с года выпуска которых прошло более 7 лет, а также автотранспортные средства, год выпуска которых не установлен - подлежат испытаниям (контролю) с периодичностью - 12 месяцев;

Периодические испытания (контроль) АТС2.2. Автотранспортные средства категорий:- L3, L4, L5 (мототранспортные средства); - М1 (легковые автомобили); -

Слайд 7Периодические испытания (контроль) АТС
2.3. Автотранспортные средства категорий:
- N2 и N3 (грузовые

автомобили с разрешенной максимальной массой более 3,5 тонн);
- О3, О4 (прицепы и полуприцепы с разрешенной максимальной массой более 3,5 тонн)
за исключением указанных в п.п. 2.1 и 2.4. настоящей статьи подлежат испытаниям (контролю) с периодичностью - 12 месяцев.
2.4. Автотранспортные средства, на которые в соответствии с законодательством Российской Федерации разрешена установка специальных сигналов, а также транспортные средства, предназначенные для обучения вождению (за исключением транспортных средств, указанных в п. 2.1 настоящей статьи) - подлежат испытаниям (контролю) с периодичностью - 12 месяцев.

Периодические испытания (контроль) АТС2.3. Автотранспортные средства категорий:- N2 и N3 (грузовые автомобили с разрешенной максимальной массой более

Слайд 8 ТЕРМИНЫ И ОПРЕДЕЛЕНИЯ
1) автоматическое (аварийное) торможение: Торможение прицепа (полуприцепа), выполняемое

тормозной системой без управляющего воздействия водителя при разрыве магистралей тормозного привода;
2) блокирование колеса: Прекращение качения колеса в дорожных условиях при наличии его перемещения по опорной поверхности или прекращение вращения колеса, установленного на роликовый стенд АТС, при продолжающемся вращении роликов стенда;
3) время срабатывания тормозной системы: Интервал времени от начала торможения до момента времени, в который замедление АТС принимает установившееся значение при проверках в дорожных условиях, либо до момента, в который тормозная сила при проверках на стендах или принимает максимальное значение, или происходит блокировка колеса АТС на роликах стенда;
4) каплепадение: Падение капель, повторяющееся с интервалом не более 20 с при работающем или неработающем двигателе;
5) коридор движения: Часть опорной поверхности, правая и левая границы которой обозначены для того, чтобы в процессе движения горизонтальная проекция АТС на плоскость опорной поверхности не пересекала их ни одной точкой;
6) начальная скорость торможения: Скорость АТС в начале торможения;
8) нейтральное положение рулевого колеса (управляемых колес): Положение, соответствующее прямолинейному движению АТС при отсутствии возмущающих воздействий;
9) оптический центр (центр отсчета): Точка пересечения оси отсчета с наружной поверхностью рассеивателя светового прибора;
10) ось отсчета фары: Линия пересечения плоскостей, проходящих через оптический центр фары параллельно продольной центральной плоскости АТС и опорной поверхности;
11) подтекание: Появление жидкости на поверхности деталей герметичных систем привода или питания, воспринимаемое на ощупь;
12) продольная центральная плоскость АТС: Плоскость, перпендикулярная к плоскости опорной поверхности и проходящая через середину колеи АТС;

ТЕРМИНЫ И ОПРЕДЕЛЕНИЯ1) автоматическое (аварийное) торможение: Торможение прицепа (полуприцепа), выполняемое тормозной системой без управляющего воздействия

Слайд 9ТЕРМИНЫ И ОПРЕДЕЛЕНИЯ
13) проскальзывание колеса на роликовых стендах: Несоответствие окружной скорости

колеса автомобиля окружной скорости вращения рабочей поверхности роликов стенда;
14) суммарный люфт в рулевом управлении: Угол поворота рулевого колеса от положения, соответствующего началу поворота управляемых колес в одну сторону, до положения, соответствующего началу их поворота в противоположную сторону от положения, примерно соответствующего прямолинейному движению АТС;
15) торможение: Процесс создания и изменения искусственного сопротивления движению АТС;
16) тормозная сила: Реакция опорной поверхности на колеса АТС, вызывающая замедление АТС и (или) колес АТС. Для оценки технического состояния тормозных систем используют наибольшие величины тормозных сил;
17) тормозной путь: Расстояние, пройденное АТС от начала до конца торможения;
18) угол регулировки светового пучка фар ближнего света АТС: угол между наклонной плоскостью, содержащей левую (от АТС) часть светотеневой границы пучка ближнего света, и горизонтальной плоскостью;
19) удельная тормозная сила: Отношение суммы тормозных сил на колесах АТС к произведению массы АТС на ускорение свободного падения (для тягача и прицепа или полуприцепа рассчитывают раздельно);
20) установившееся замедление: Среднее значение замедления за время торможения от момента окончания периода времени нарастания замедления до начала его спада в конце торможения;
21) устойчивость АТС при торможении: Способность АТС двигаться при торможениях в пределах коридора движения;
22) эксплуатационная документация – разрабатываемые изготовителем автотранспортного средства инструкции и руководства по его эксплуатации или по эксплуатации и техническому обслуживанию автотранспортного средства;
23) эффективность торможения: Мера торможения, характеризующая способность тормозной системы создавать необходимое искусственное сопротивление движению АТС.

ТЕРМИНЫ И ОПРЕДЕЛЕНИЯ13) проскальзывание колеса на роликовых стендах: Несоответствие окружной скорости колеса автомобиля окружной скорости вращения рабочей

Слайд 11Деселерометр «Эффект»

Деселерометр «Эффект»

Слайд 12Применение требований к эффективности торможения и устойчивости АТС при торможении на

роликовых стендах
Применение требований к эффективности торможения и устойчивости АТС при торможении на роликовых стендах

Слайд 13Применение требований к эффективности торможения и устойчивости АТС при торможении в дорожных

условиях
Применение требований к эффективности торможения и устойчивости АТС при торможении в дорожных условиях

Слайд 14Тормозная диаграмма (схема) t — время запаздывания тормозной системы; т

н — время нарастания замедления; т уст — время торможения с установившимся замедлением; т ср — время срабатывания тормозной системы;Yуст — установившееся замедление АТС; Н и К— начало и конец торможения, соответственно
Тормозная диаграмма (схема)    t — время запаздывания тормозной системы; т н — время нарастания

Слайд 15Нормативы эффективности торможения АТС при помощи рабочей тормозной системы при роверках

на роликовых стендах
Нормативы эффективности торможения АТС при помощи рабочей тормозной системы при роверках на роликовых стендах

Слайд 16Нормативы эффективности торможения АТС при помощи рабочей тормозной системы в дорожных

условиях с использованием прибора для проверки тормозных систем
Нормативы эффективности торможения АТС при помощи рабочей тормозной системы в дорожных условиях с использованием прибора для проверки

Слайд 17Нормативы эффективности торможения АТС при помощи рабочей тормозной системы в дорожных

условиях с регистрацией параметров торможения
Нормативы эффективности торможения АТС при помощи рабочей тормозной системы в дорожных условиях с регистрацией параметров торможения

Слайд 18Нормативы эффективности торможения АТС при помощи рабочей тормозной системы в дорожных

условиях с регистрацией параметров торможения

В дорожных условиях при торможении рабочей тормозной системой с начальной скоростью торможения 40 км/ч АТС габаритной шириной более 1,7 м не должно ни одной своей частью выходить из нормативного коридора движения шириной 3 м, АТС габаритной шириной 1,7 м и менее – из коридора движения шириной 2,5 м, а АТС, оборудованные антиблокировочными тормозными системами (АБС), - должны двигаться в пределах коридора движения прямолинейно.
При проверках на стендах допускается относительная разность тормозных сил колес оси (в процентах от наибольшего значения) для осей АТС с дисковыми колесными тормозными механизмами не более 20 % и для осей с барабанными колесными тормозными механизмами не более 25 %. Для АТС категории М1 до окончания периода приработки допускается применение нормативов, установленных изготовителем в эксплуатационной документации.

Нормативы эффективности торможения АТС при помощи рабочей тормозной системы в дорожных условиях с регистрацией параметров торможенияВ дорожных

Слайд 192.4. Рабочая тормозная система автопоездов с пневматическим тормозным приводом в режиме

аварийного (автоматического) торможения должна быть работоспособна.
2.5. Стояночная тормозная система должна обеспечивать:
для АТС технически допустимой максимальной массы:
- или значение удельной тормозной силы не менее 0,16;
- или неподвижное состояние АТС на опорной поверхности с уклоном (16±1) %;
для АТС в снаряженном состоянии:
- или расчетная удельная тормозная сила, не менее меньшего из двух значений: 0,15 отношения технически допустимой максимальной массы к массе АТС при проверке или 0,6 отношения снаряженной массы, приходящейся на ось (оси), на которые воздействует стояночная тормозная система, к снаряженной массе;
- или неподвижное состояние АТС категорий М1-М3 на уклоне (23±1) % и (31±1) % для категорий N1 - N3.
2.4. Рабочая тормозная система автопоездов с пневматическим тормозным приводом в режиме аварийного (автоматического) торможения должна быть работоспособна.2.5.

Слайд 20Усилие, прикладываемое к органу управления стояночной тормозной системы для приведения ее

в действие, не должно превышать:
- в случае ручного органа управления:
392 Н - для АТС категории М1;
589 Н - для АТС остальных категорий.
- в случае ножного органа управления:
490 Н - для АТС категории М1;
688 Н - для АТС остальных категорий.
Стояночная тормозная система с приводом на пружинные камеры, раздельным с приводом запасной тормозной системы, при торможении в дорожных условиях с начальной скоростью 20 км/ч для АТС категорий М2 и М3, у которых не менее 0,37 массы АТС в снаряженном состоянии приходится на ось (и), оборудованную (ые) стояночной тормозной системой, должна обеспечивать установившееся замедление не менее 2,2 м/с2, а для АТС категорий N, у которых не менее 0,49 массы АТС в снаряженном состоянии приходится на ось (и), оборудованную (ые) стояночной тормозной системой, - не менее 2,9 м/с2.
Усилие, прикладываемое к органу управления стояночной тормозной системы для приведения ее в действие, не должно превышать:- в

Слайд 21Требования к безопасности технического состояния рулевого управления
3.1. Изменение усилия при повороте

рулевого колеса должно быть плавным во всем диапазоне его поворота. Неработоспособность усилителя рулевого управления АТС (при его наличии на АТС) не допускается.
3.2. Самопроизвольный поворот рулевого колеса с усилителем рулевого управления от нейтрального положения при неподвижном состоянии АТС и работающем двигателе не допускается.
3.3. Суммарный люфт в рулевом управлении не должен превышать пределов, установленных изготовителем в эксплуатационной документации, или если эти пределы не установлены, следующих предельных значений:
- легковые автомобили и созданные на базе
их агрегатов грузовые автомобили и автобусы ..................10о
- автобусы ...........................................................…….....….….20о
- грузовые автомобили .................……………......….........….25о

Требования к безопасности технического состояния рулевого управления3.1. Изменение усилия при повороте рулевого колеса должно быть плавным во

Слайд 22Требования к безопасности технического состояния рулевого управления
3.4. Максимальный поворот рулевого колеса

должен ограничиваться только устройствами, предусмотренными конструкцией АТС.
3.5. Повреждения и отсутствие деталей крепления рулевой колонки и картера рулевого механизма, а также повышение подвижности деталей рулевого привода относительно друг друга или кузова (рамы) не допускаются. Резьбовые соединения должны быть затянуты и зафиксированы способом, предусмотренным изготовителем АТС. Люфт в соединениях рычагов поворотных цапф и шарнирах рулевых тяг не допускается. Повреждения и отсутствие деталей крепления шаровых опор не допускается. Устройство фиксации положения рулевой колонки с регулируемым положением рулевого колеса должно быть работоспособно.
3.6. Применение в рулевом механизме и рулевом приводе деталей со следами остаточной деформации, с трещинами и другими дефектами не допускается.
3.7. Подтекание рабочей жидкости в гидросистеме усилителя не допускается.
Требования к безопасности технического состояния рулевого управления3.4. Максимальный поворот рулевого колеса должен ограничиваться только устройствами, предусмотренными конструкцией

Слайд 23Измеритель люфта в рулевом управлении ИСЛ-М

Измеритель люфта в рулевом управлении ИСЛ-М

Слайд 24Требования к внешним световым приборам
4.1. Количество, расположение, режим работы и цвет

излучения внешних световых приборов на АТС должны соответствовать эксплуатационной документации. Демонтаж, изменение цвета огней, режима работы и мест расположения предусмотренных эксплуатационной документацией АТС фар, сигнальных фонарей, световозвращателей не допускаются, за исключением указанных в п. 4.2 или изменения комплектации АТС внешними световыми приборами для приведения ее в соответствие с Правилами № 48 ЕЭК ООН.
4.2. При эксплуатации допускается установка фары-прожектора или прожектора-искателя, если она предусмотрена изготовителем АТС. Дополнительная установка других фар, сигнальных фонарей и световозвращателей, не предусмотренных изготовителем в эксплуатационной документации АТС, не допускается.
Допускается замена внешних световых приборов на используемые на АТС других марок и моделей.
4.3. Отсутствие рассеивателей либо частей рассеивателей фар не допускается.

Требования к внешним световым приборам4.1. Количество, расположение, режим работы и цвет излучения внешних световых приборов на АТС

Слайд 25Требования к внешним световым приборам
4.4. Сигнализаторы включения световых приборов, находящиеся в

кабине (салоне), должны быть работоспособны.
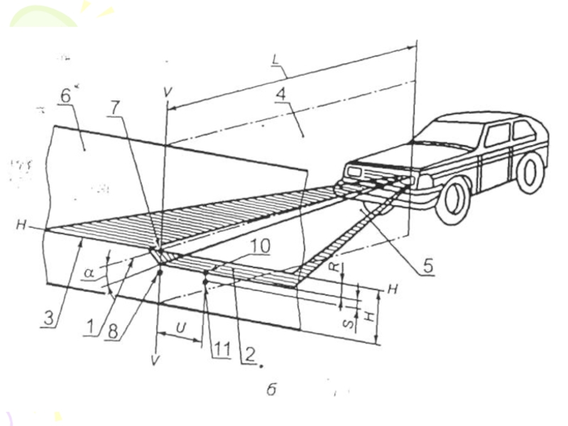
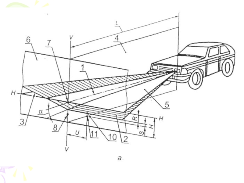
4.5. Угол наклона плоскости, содержащей левую (от АТС) верхнюю часть светотеневой границы пучка ближнего света фар типов С, НС, DС, CR, HCR, DCR, измеренный в вертикальной плоскости, параллельной продольной центральной плоскости АТС, должен быть в пределах ± 0,2 % нормативного значения угла регулировки, указанного в эксплуатационной документации и (или) обозначенного на АТС. При отсутствии на АТС и в эксплуатационной документации данных о нормативном значении угла регулировки, фары типов С, НС, DС, CR, HCR, DCR в режиме «ближнего света» должны быть отрегулированы согласно табл. П 3.6. Нормативы угла регулировки заданы значениями угла α в зависимости от высоты Н оптического центра фары над плоскостью рабочей площадки или расстоянием R по экрану от проекции оптического центра фары до световой границы пучка света для расстояния от оптического центра фары L до экрана и высоты Н оптического центра фары над плоскостью рабочей площадки. Правый участок следа светотеневой границы пучка ближнего света фар типов С, НС, DС, CR, HCR, DCR на экране может быть наклонным или ломаным.

Требования к внешним световым приборам4.4. Сигнализаторы включения световых приборов, находящиеся в кабине (салоне), должны быть работоспособны.4.5. Угол

Слайд 26Измеритель параметров фар ИПФ-01

Измеритель параметров фар ИПФ-01

Слайд 29Требования к внешним световым приборам
Требования к углу регулировки пучка ближнего света

фар
Требования к внешним световым приборамТребования к углу регулировки пучка ближнего света фар

Слайд 30Требования к внешним световым приборам
Cила света каждой из фар в режиме

«ближний свет», измеренная в направлении оси отсчета фары и в направлении 52′ вниз от положения светотеневой границы, должна соответствовать нормативам

Требования к внешним световым приборамCила света каждой из фар в режиме «ближний свет», измеренная в направлении оси

Слайд 31Требования к внешним световым приборам
Cила света каждой из фар в режиме

«ближний свет», измеренная в направлении оси отсчета фары и в направлении 52′ вниз от положения светотеневой границы, должна соответствовать нормативам

Требования к внешним световым приборамCила света каждой из фар в режиме «ближний свет», измеренная в направлении оси

Слайд 32Требования к внешним световым приборам
4.10. Сила света противотуманной фары, измеренная в

вертикальной плоскости, проходящей через ось отсчета, должна быть не более 625 кд в направлении 3° вверх от положения светотеневой границы.
4.11. Изменение предусмотренного изготовителем АТС постоянного режима излучения габаритных, контурных огней и опознавательного знака автопоезда не допускается.
4.12. Нарушение предусмотренного изготовителем АТС режима функционирования и синхронности включения основных и дополнительных сигналов торможения при воздействии на органы управления тормозных систем не допускается.
4.13. Нарушение предусмотренного изготовителем АТС режима функционирования и синхронности включения фары заднего хода при включении передачи заднего хода не допускается.
4.14. Указатели поворотов должны быть работоспособны. Частота следования проблесков должна быть в пределах (90±30) проблесков в минуту или (1,5±0,5) Гц.
4.15. Аварийная сигнализация должна обеспечивать синхронное включение всех указателей поворота в проблесковом режиме с частотой по 4.14.
4.16. Нарушение предусмотренного изготовителем АТС постоянного режима функционирования и синхронности включения фонаря освещения заднего государственного регистрационного знака с габаритными огнями не допускается.
Требования к внешним световым приборам4.10. Сила света противотуманной фары, измеренная в вертикальной плоскости, проходящей через ось отсчета,

Слайд 344.3.12 Противотуманные фары должны включаться при включенных габаритных огнях неза­висимо от

включения фар дальнего и (или) ближнего света.
4.3.15 Габаритные, контурные огни, а также опознавательный знак автопоезда должны рабо­тать в постоянном режиме.
4.3.16 Сигналы торможения (основные и дополнительные) должны включаться при воздейст­вии на органы управления тормозных систем и работать в постоянном режиме.
4.3.17 Фара заднего хода должен включаться при включении передачи заднего хода и работать в постоянном режиме.
4.3.18 Указатели поворотов должны быть работоспособны. Частота следования проблесков должна находиться в пределах (90±30) проблес­ков в минуту или (1,5+0,5) Гц.
4.3.19 Аварийная сигнализация должна обеспечивать синхронное вклю­чение всех указателей поворота в проблесковом режиме с частотой по 4.3.18.
4.3.20 Фонарь освещения заднего государственного регистрационного знака должен включать­ся одновременно с габаритными огнями и работать в постоянном режиме.
4.3.21 Задние противотуманные фонари должны включаться только при включенных фарах дальнего или ближнего света либо противотуманных фарах и работать в постоянном режиме.
4.3.12 Противотуманные фары должны включаться при включенных габаритных огнях неза­висимо от включения фар дальнего и (или) ближнего

Слайд 35Схема экрана для проверки направления светового потока фар

Схема экрана для проверки направления светового потока фар

Слайд 364.4 Требования к стеклоочистителям и стеклоомывателям

4.4.1 АТС должно быть оснащено стеклоочистителями

и стеклоомывателями ветрового стекла.
4.4.2 Стеклоочистители ветровых стекол должны быть работоспособ­ны. Демонтирование и неработоспособность стеклоочистителей фар, пре­дусмотренных эксплуатационной документацией АТС, не допускаются.
4.4.3 Стеклоомыватели должны обеспечивать подачу жидкости в зоны очистки стекла.
4.4 Требования к стеклоочистителям и стеклоомывателям4.4.1 АТС должно быть оснащено стеклоочистителями и стеклоомывателями ветрового стекла.4.4.2 Стеклоочистители ветровых

Слайд 37Требования к шинам и колесам
6.1 Маркировка шин на АТС должна соответствовать

допускаемым эксплуатационной документацией размеру, индексу несущей способности нагрузок (грузоподъемности), индексу категории скорости.
6.2 Установка на одну ось АТС шин разных размеров, конструкций (радиальной, диагональной, камерной и бескамерной), моделей, с разными рисунками протектора, морозостойких и неморозостойких, новых и восстановленных, новых и с углубленным рисунком протектора не допускается.
6.3. Шины с шипами противоскольжения в случае их применения должны быть установлены на все колеса АТС.
6.4. Шина непригодна к эксплуатации:
- при появлении одного индикатора износа (выступа по дну канавки беговой дорожки, высота которого соответствует минимально допустимой высоте рисунка протектора) при равномерном износе, или двух индикаторов в каждом из двух сечений шины при неравномерном износе протектора;
- при остаточной высоте рисунка протектора шин, не снабженных индикаторами износа, не более указанных предельных значений для АТС категорий:
М1, N1, О1, О2 - 1,6 мм;
N2, N3, О3, О4 – 1,0 мм;
М2, М3 – 2 мм;
- при наличии местных повреждений (порезов, пробоев), а также расслоений в каркасе, брекере, борте (вздутия), отслоении протектора, боковины и герметизирующего слоя.
Требования к шинам и колесам6.1 Маркировка шин на АТС должна соответствовать допускаемым эксплуатационной документацией размеру, индексу несущей

Слайд 38Требования к двигателю и его системам
Содержание оксида углерода, углеводородов и коэффициент

избытка воздуха в отработавших газах бензинового двигателя в режиме холостого хода на минимальной (nмин) и повышенной (nпов) частотах вращения коленчатого вала, установленных изготовителем АТС в эксплуатационной документации, или при отсутствии данных, установленных изготовителем, на частотах, не превышающих значений:
nмин – 1100 мин-1 для АТС категорий М1 и N1;
nмин – 900 мин-1 для АТС остальных категорий;
nпов – 2500-3500 мин-1 для АТС категорий М1 и N1 без системы нейтрализации;
nпов – 2000-3500 мин-1 для АТС категорий М1 и N1 с системой нейтрализации,
nпов – 2000—2800 мин-1 для АТС остальных категорий и комп­лектаций, не должно превышать установленных изготовителем АТС пределов. При отсутствии или недоступности установленных изготовителем АТС пределов, содержание оксида углерода, углеводородов и коэффициента избытка воздуха в отработавших газах не должно превышать предельных значений, указан­ных в табл.
Требования к двигателю и его системамСодержание оксида углерода, углеводородов и коэффициент избытка воздуха в отработавших газах бензинового

Слайд 39Предельные значения содержания оксида углерода, углеводородов и коэффициента избытка воздуха в

отработавших газах бензинового двигателя
Предельные значения содержания оксида углерода, углеводородов и коэффициента избытка воздуха в отработавших газах бензинового двигателя

Слайд 40Предельные значения содержания оксида углерода, углеводородов и коэффициента избытка воздуха в

отработавших газах бензинового двигателя
Предельные значения содержания оксида углерода, углеводородов и коэффициента избытка воздуха в отработавших газах бензинового двигателя

Слайд 42Предельно допустимое содержание оксида углерода и углеводородов в отработавших газах газобаллонных

автомобилей
Предельно допустимое содержание оксида углерода и углеводородов в отработавших газах газобаллонных автомобилей

Слайд 43НОРМЫ ДЫМНОСТИ
4.1 Основным нормируемым параметром дымности является коэффициент поглощения света k,

вспомогательным - коэффициент ослабления света N. Пересчет k в N для дымомера с L , равной 0,43 м, приведен в приложении А.
. 4.2 Дымность автомобилей в режиме свободного ускорения не должна превышать:
- предельно-допустимое значение коэффициента поглощения света kдоп, указанное предприятием-изготовителем в знаке официального утверждения и нанесенное на двигатель/автомобиль в соответствие с приложением 3 ГОСТ Р 41.24 (Правила ЕЭК ООН № 24) для обкатанных автомобилей;
- более чем на 0,5м-1 предельных значений kдоп , указанных в знаке официального утверждения, для необкатанных автомобилей .
4.3 Дымность kдоп автомобилей, не имеющих знак официального утверждения, не должна превышать в режиме свободного ускорения следующих значений:
2,5 м-1 - для двигателей без наддува;
3,0 м-1 - для двигателей с наддувом.
НОРМЫ ДЫМНОСТИ4.1 Основным нормируемым параметром дымности является коэффициент поглощения света k, вспомогательным - коэффициент ослабления света N.

Слайд 44Пересчет значений k в N

Пересчет значений k в N

Слайд 45Дымомет Мета 01-МП

Дымомет Мета 01-МП

Слайд 46Предельно допустимые уровни шума выпуска двигателей эксплуатируемых АТС

Предельно допустимые уровни шума выпуска двигателей эксплуатируемых АТС

Слайд 47Измеритель уровня шума

Измеритель уровня шума

Что такое shareslide.ru?

Это сайт презентаций, где можно хранить и обмениваться своими презентациями, докладами, проектами, шаблонами в формате PowerPoint с другими пользователями. Мы помогаем школьникам, студентам, учителям, преподавателям хранить и обмениваться учебными материалами.


Для правообладателей

Яндекс.Метрика

Обратная связь

Email: Нажмите что бы посмотреть