Презентация, доклад устройство автомобилей Типы сцеплений автомобиля

Содержание

Цель занятия: Формирование знаний о назначении, устройстве и типах сцепления автомобиля.

Слайд 1
Тема урока:

«Сцепление автомобиля»

Тема урока: «Сцепление автомобиля»

Слайд 2Цель занятия:
Формирование знаний о назначении,
устройстве и типах сцепления
автомобиля.

Цель занятия: Формирование знаний о назначении, устройстве и типах сцепления автомобиля.

Слайд 3Повторение пройденной темы.
Фронтальный опрос:
1. Вопрос: Назначение трансмиссии автомобиля?
Ответ: Трансмиссия автомобиля

предназначена для передачи крутящего момента от двигателя к ведущим колесам автомобиля. Подведенный к колесам крутящий момент создает силу тяги, обеспечивающую движение автомобиля в результате взаимодействия колес с дорогой.
2. Вопрос: Какие силы затрачиваются на преодоление сил сопротивления движению?
Ответ: На преодоление сил сопротивления движению влияют силы сопротивления качению колес, силы сопротивления подъему, силы сопротивления воздуху и силы сопротивления разгону.
Повторение пройденной темы.Фронтальный опрос:1. Вопрос: Назначение трансмиссии автомобиля? Ответ: Трансмиссия автомобиля предназначена для передачи крутящего момента от

Слайд 43. Вопрос: Передаточное число трансмиссии?
Ответ: Передаточным числом трансмиссии является отношение

частоты вращения коленчатого вала двигателя и частоты вращения ведущих колес, без учета потерь энергии в трансмиссии.
4. Вопрос: Типы схем трансмиссии?
Ответ: Если крутящий момент подводится к передним или задним колесам, то схема трансмиссии называется мостовой, а автомобиль – переднеприводным или заднеприводным. Если привод осуществляется на все колеса автомобиля, то автомобиль называют полноприводным.
5. Вопрос: Перечислить типы трансмиссий по характеру связи между двигателем и ведущими колесами?
Ответ: По характеру связи между двигателем и ведущими колесами трансмиссии разделяют на: механические, электрические, гидромеханические и электромеханические.
3. Вопрос: Передаточное число трансмиссии? Ответ: Передаточным числом трансмиссии является отношение частоты вращения коленчатого вала двигателя и

Слайд 56. Вопрос: Какие элементы входят в состав ступенчатой механической трансмиссии?
Ответ:

Основными элементами механической трансмиссии автомобиля являются: сцепление, коробка передач, раздаточная коробка, карданная передача, главная передача, дифференциал и валы ведущих мостов (полуоси).

6. Вопрос: Какие элементы входят в состав ступенчатой механической трансмиссии? Ответ: Основными элементами механической трансмиссии автомобиля являются:

Слайд 6Основные вопросы

1.Назначение сцепления автомобиля

2. Типы сцеплений

3. Принцип работы фрикционного сцепления

4.

Основные неисправности сцепления
Основные вопросы 1.Назначение сцепления автомобиля2. Типы сцеплений3. Принцип работы фрикционного сцепления4. Основные неисправности сцепления

Слайд 71.Назначение сцепления автомобиля

Сцепление - является первым устройством
трансмиссии и предназначено для передачи


крутящего момента от маховика коленчатого
вала двигателя к первичному валу коробки
передач. При этом сцепление позволяет
водителю кратковременно прерывать передачу
крутящего момента, как бы отделять двигатель
от трансмиссии, а затем и плавно их соединять.

1.Назначение сцепления автомобиляСцепление - является первым устройством трансмиссии и предназначено для передачи крутящего момента от маховика коленчатоговала двигателя

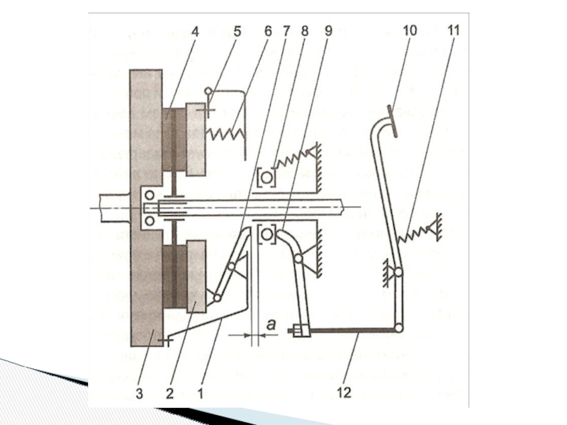
Слайд 8Устройство сцепления автомобиля
1 - картер сцепления;  2 - кожух сцепления:  3 -

пружины;  4 - нажимной диск;  5 - нажимной подшипник;  6 - шестерня коробки передач;  7 - отжимные рычаги;  8 - картер коробки передач;  9 - вилка выключения сцепления;  10 - маховик двигателя;  11 - первичный вал коробки передач.
Устройство сцепления автомобиля 1 - картер сцепления;  2 - кожух сцепления:  3 - пружины;  4 - нажимной

Слайд 92. Типы сцеплений
1. По характеру работы различают
постоянно замкнутые или постоянно

разомкнутые
сцепления.
Большинство сцеплений постоянно замкнутые, т.е.
постоянно включенные.
2. Типы сцеплений1. По характеру работы различают постоянно замкнутые или постоянно разомкнутые сцепления. Большинство сцеплений постоянно замкнутые,

Слайд 102. По характеру связи между ведущими и
ведомыми элементами различают:

-

фрикционные сцепления
передают крутящий момент во включенном состоянии за счет сил трения

- гидравлические сцепления
используется кинетическая энергия жидкости

-электромагнитные сцепления
работают на основе магнитного взаимодействия ведущих и ведомых элементов


2. По характеру связи между ведущими и ведомыми элементами различают: - фрикционные сцепленияпередают крутящий момент во включенном

Слайд 123. По числу ведомых дисков фрикционные сцепления могут быть:
- однодисковые

1. корпус;
2.

тангенциальная пружина;
3. опорный подшипник;
4. коленчатый вал;
5. демпферная пружина;
6. ведомый диск;
7. нажимной диск;
8. маховик;
9. корзина сцепления;
10. кольцо;
11. распорный болт;
12. диафрагменная пружина;
13. выжимной подшипник;
14. направляющая;
15.первичный вал коробки передач;
16.вилка выключения сцепления;
17. рабочий цилиндр
3. По числу ведомых дисков фрикционные сцепления могут быть:- однодисковые1. корпус;2. тангенциальная пружина;3. опорный подшипник;4. коленчатый вал;5.

Слайд 13- двухдисковые

- двухдисковые

Слайд 144. По состоянию поверхностей трения
различают
- сухое сцепление
для создания

сил трения используется сухое трение между
ведущими и ведомыми дисками
4. По состоянию поверхностей трения различают - сухое сцепление для создания сил трения используется сухое трение между

Слайд 15- мокрое сцепление
для создания сил трения используются ведущие
и ведомые диски

работающие в жидкости.
- мокрое сцепление для создания сил трения используются ведущиеи ведомые диски работающие в жидкости.

Слайд 165. По способу создания нажимного усилия
различают:
- центробежные сцепления
прижатие

ведущих и ведомых дисков осуществляется
за счет центробежных сил
5. По способу создания нажимного усилия различают: - центробежные сцепления прижатие ведущих и ведомых дисков осуществляется за

Слайд 17- сцепления с центральной пружиной
прижатие ведущих и ведомых дисков осуществляется

одной
или несколькими винтовыми пружинами, расположенными
концентрично относительно оси вращения сцепления
- сцепления с центральной пружиной прижатие ведущих и ведомых дисков осуществляется однойили несколькими винтовыми пружинами, расположенными концентрично

Слайд 18- сцепления с мембранной пружиной
прижатие ведомых и ведущих дисков осуществляется

посредством
тарельчатой пружины специальной формы
- сцепления с мембранной пружиной прижатие ведомых и ведущих дисков осуществляется посредством тарельчатой пружины специальной формы

Слайд 191 — коленчатый вал 2 — маховик 3 — ведомый диск сцепления 4 — нажимной диск 5 — диафрагменная пружина 6 —

первичный вал коробки передач 7 — нажимная муфта и выжимной подшипник 8 — кожух сцепления (корзина сцепления) 9 — соединения 10 — шпильки 11 — упоры
1 — коленчатый вал 2 — маховик 3 — ведомый диск сцепления 4 — нажимной диск 5 — диафрагменная пружина 6 — первичный

Слайд 20- сцепления с переферийными пружинами
прижатие ведомых и ведущих дисков осуществляется

посредством
цилиндрических пружин, расположенных по переферии.
- сцепления с переферийными пружинами прижатие ведомых и ведущих дисков осуществляется посредствомцилиндрических пружин, расположенных по переферии.

Слайд 216. По типу привода различают сцепления:
- С механическим приводом

6. По типу привода различают сцепления: - С механическим приводом

Слайд 22- С гидравлическим приводом

- С гидравлическим приводом

Слайд 237. По наличию и типу усилителя привода
различают сцепления
с

пружинным усилителем

2. с пневматическим усилителем

3. с вакуумным усилителем

4. с гидравлическим усилителем
7. По наличию и типу усилителя привода различают сцепления с пружинным усилителем2. с пневматическим усилителем3. с вакуумным

Слайд 243. Принцип работы фрикционного сцепления
Сцепление устанавливается на маховике и состоит
из

следующих элементов:

ведущие детали

ведомые детали

нажимной механизм

механизм выключения

3. Принцип работы фрикционного сцепленияСцепление устанавливается на маховике и состоит из следующих элементов: ведущие деталиведомые деталинажимной механизммеханизм

Слайд 264. Основные неисправности сцепления
Сцепление «ведет» (выключается не полностью)
Сцепление «пробуксовывает» (включается не полностью)


Сцепление включается резко 

большой свободный ход педали сцепления, перекос нажимного подшипника, износ ведомого диска или поломка пружин.

отрегулировать свободный ход педали, удалить воздух из гидропривода,
заменить неработоспособные диски и пружины.

малый свободный ход педали, замасливание или износ фрикционных
накладок ведомого диска, поломка пружин

отрегулировать свободный ход педали,
промыть или поменять диски, пружины.

Заедание механизма привода; задиры на поверхности дисков, маховика и разрушение фрикционных накладок ведомого диска.

заменить неисправные узлы привода, устранить задиры
на поверхностях дисков, заменить ведомый диск.

4. Основные неисправности сцепленияСцепление «ведет» (выключается не полностью) Сцепление «пробуксовывает» (включается не полностью) Сцепление включается резко  большой свободный ход

Что такое shareslide.ru?

Это сайт презентаций, где можно хранить и обмениваться своими презентациями, докладами, проектами, шаблонами в формате PowerPoint с другими пользователями. Мы помогаем школьникам, студентам, учителям, преподавателям хранить и обмениваться учебными материалами.


Для правообладателей

Яндекс.Метрика

Обратная связь

Email: Нажмите что бы посмотреть