Презентация, доклад на тему Назначение и классификация колесных пар

НазначениеКолёсная пара служит для восприятия массы локомотива и передачи её на рельс, а также для направления движения локомотива в рельсовой колее.

Слайд 1
Назначение и классификация
колёсных пар

Назначение и классификация колёсных пар

Слайд 2 Назначение
Колёсная пара служит для восприятия массы локомотива и передачи её

на рельс, а также для направления движения локомотива в рельсовой колее.
НазначениеКолёсная пара служит для восприятия массы локомотива и передачи её на рельс, а также для направления

Слайд 3 Конструкция

Конструкция

Слайд 41 – колёсный центр, 2 – бандаж, 3 – укрепляющее кольцо,

4 – зубчатое колесо, 5 - ось
1 – колёсный центр, 2 – бандаж, 3 – укрепляющее кольцо, 4 – зубчатое колесо, 5 -

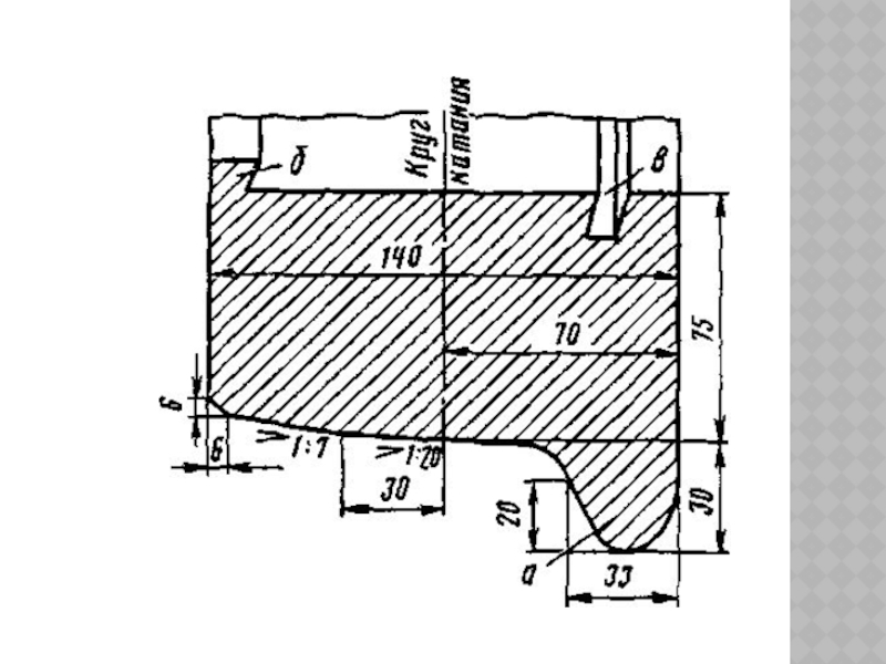
Слайд 51 - средняя часть,
2 - шейка под МОП,
3 -

подступичная часть,
4 - предподступичная часть,
5 - буксовая шейка
1 - средняя часть, 2 - шейка под МОП, 3 - подступичная часть,4 - предподступичная часть, 5

Слайд 9Классификация
по типу колёсного центра:
Дисковый колёсный центр

Классификацияпо типу колёсного центра:Дисковый колёсный центр

Слайд 10Спицевый колёсный центр

Спицевый колёсный центр

Слайд 11Колёсный центр коробчатого сечения

Колёсный центр коробчатого сечения

Слайд 12 по наличию зубчатого колеса
С одним зубчатым колесом

по наличию зубчатого колесаС одним зубчатым колесом

Слайд 13С двумя зубчатыми колёсами

С двумя зубчатыми колёсами

Слайд 14Без зубчатого колеса

Без зубчатого колеса

Слайд 153.3 по типу зубчатой передачи
Прямозубая

3.3 по типу зубчатой передачиПрямозубая

Слайд 16Косозубая

Косозубая

Слайд 173.4 по наличию бандажа
С бандажом

Без бандажа
3.4 по наличию бандажаС бандажом

Слайд 18по наличию тормозных дисков
С дисками
Без дисков

по наличию тормозных дисковС дискамиБез дисков

Слайд 19Формирование колёсных пар
Холодным (прессовым) способом

Формирование колёсных парХолодным (прессовым) способом

Слайд 21Горячим (тепловым) способом

Горячим (тепловым) способом

Что такое shareslide.ru?

Это сайт презентаций, где можно хранить и обмениваться своими презентациями, докладами, проектами, шаблонами в формате PowerPoint с другими пользователями. Мы помогаем школьникам, студентам, учителям, преподавателям хранить и обмениваться учебными материалами.


Для правообладателей

Яндекс.Метрика

Обратная связь

Email: Нажмите что бы посмотреть