Презентация, доклад на тему Призентация по устройству автомобиля на тему Система питания дизеля

Особенностью смесеобразования в дизеле является приготовление горючей смеси топлива с воздухом внутри цилиндров (самовоспламенение от сжатия).

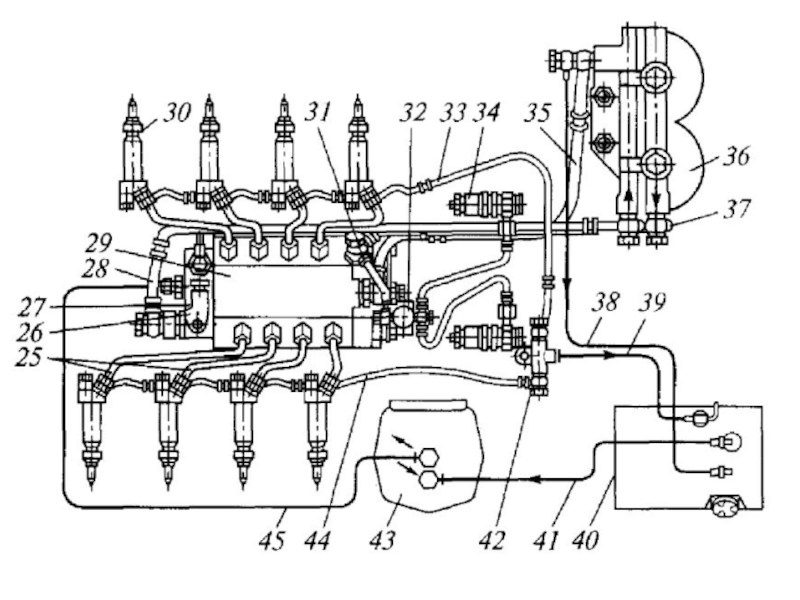
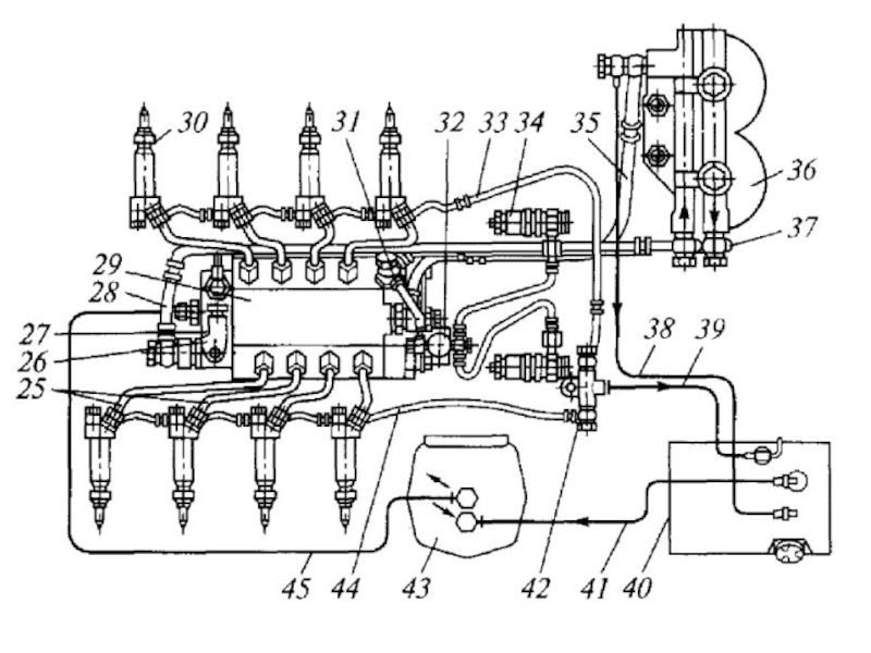
Слайд 1Смесеобразования в дизельных двигателях. Общая схема системы питания дизеля.

Смесеобразования в дизельных двигателях. Общая схема системы питания дизеля.

Слайд 3
Особенностью смесеобразования в дизеле является приготовление горючей смеси топлива с воздухом

внутри цилиндров (самовоспламенение от сжатия).
Особенностью смесеобразования в дизеле является приготовление горючей смеси топлива с воздухом внутри цилиндров (самовоспламенение от сжатия).

Слайд 4
Чтобы обеспечить наилучшие мощностные и экономические показатели работы дизеля, необходимо впрыскивать

топливо в его цилиндры до прихода поршня в ВМТ. Угол, на который кривошип коленчатого вала не доходит до ВМТ в момент начала впрыскивания топлива, называют углом опережения впрыскивания топлива.
Чтобы обеспечить наилучшие мощностные и экономические показатели работы дизеля, необходимо впрыскивать топливо в его цилиндры до прихода

Слайд 5
Для того чтобы форсунка впрыскивала топливо с требуемым опережением, топливный насос

должен начинать подавать топливо еще раньше. Это вызвано необходимостью иметь некоторое время на нагнетание топлива от насоса к форсунке.
Угол по кривошипу коленчатого вала, на который поршень не доходит до ВМТ в момент начала подачи топлива из топливного насоса, называют углом опережения подачи топлива.
Для того чтобы форсунка впрыскивала топливо с требуемым опережением, топливный насос должен начинать подавать топливо еще раньше.

Слайд 6
По способу приготовления рабочей смеси различают следующие виды смесиобразования;
объемное,


объемно-пленочное
пленочное смесеобразования.
По способу приготовления рабочей смеси различают следующие виды смесиобразования;объемное, объемно-пленочное пленочное смесеобразования.

Слайд 7
Существующие камеры сгорания дизелей по общности основных признаков их

конструкции объединяют в две группы:
неразделенные (однополостные)
разделенные (двуполостные).
Существующие камеры сгорания дизелей по общности основных признаков их конструкции объединяют в две группы: неразделенные

Слайд 8Нераздельная(однополостная) камера сгорания с объемным смесеобразованием

Нераздельная(однополостная) камера сгорания с объемным смесеобразованием

Слайд 9Нераздельная(однополостная) камера сгорания с объемно пленочным смесеобразованием

Нераздельная(однополостная) камера сгорания с объемно пленочным смесеобразованием

Слайд 10Разделенная камеры сгорания

Разделенная камеры сгорания

Что такое shareslide.ru?

Это сайт презентаций, где можно хранить и обмениваться своими презентациями, докладами, проектами, шаблонами в формате PowerPoint с другими пользователями. Мы помогаем школьникам, студентам, учителям, преподавателям хранить и обмениваться учебными материалами.


Для правообладателей

Яндекс.Метрика

Обратная связь

Email: Нажмите что бы посмотреть