Презентация, доклад по технологии Отбор пробы нефи и нефтепродуктов

2.1. Объемобъединенной пробы устанавливается в нормативно-технической документации на конкретную продукцию.2.2. Отбор проб из резервуаров2.2.1. Перед отбором пробы из резервуара нефть и нефтепродукты отстаивают не менее 2 ч и удаляют отстой воды и загрязнений.Для проверки удаления

Слайд 1Отбор пробы нефти и нефтепродуктов

Отбор пробы нефти и нефтепродуктов

Слайд 22.1. Объемобъединенной пробы устанавливается в нормативно-технической документации на конкретную продукцию.
2.2.

Отбор проб из резервуаров
2.2.1. Перед отбором пробы из резервуара нефть и нефтепродукты отстаивают не менее 2 ч и удаляют отстой воды и загрязнений.
Для проверки удаления воды и загрязнений по требованию представителя заказчика пробу отбирают из сифонного крана, установленного в нижнее положение.
2.2.2. Пробу из резервуара с нефтепродуктом, находящимся под давлением свыше 1,96 кПа (200 мм вод. ст.), отбирают без разгерметизации резервуара.
2.2.3. Пробу нефти или нефтепродукта из резервуара с понтоном или плавающей крышей отбирают из перфорированной колонны.
2.3. Отбор проб из вертикальных резервуаров
2.3.1. Для отбора объединенной пробы нефти и нефтепродуктов в один прием применяют стационарные пробоотборники по ГОСТ 13196 или с перфорированной заборной трубкой (см. черт.1).
За нижнюю точку отбора пробы нефти принимают уровень нижнего среза приемораздаточного патрубка (хлопушки) по внутреннему диаметру, а при отборе пробы нефтепродукта - уровень на расстоянии 250 мм от днища резервуара.
2.3.2. Точечные пробы нефти или нефтепродукта из вертикального цилиндрического или прямоугольного резервуара отбирают стационарным (см. черт.2) или переносным пробоотборником с трех уровней:
верхнего - на 250 мм ниже поверхности нефти или нефтепродукта;
среднего - с середины высоты столба нефти или нефтепродукта;
нижнего: для нефти - нижний срез приемораздаточного патрубка (хлопушки) по внутреннему диаметру, для нефтепродукта - на 250 мм выше днища резервуара.

2.1. Объемобъединенной пробы устанавливается в нормативно-технической документации на  конкретную продукцию.2.2. Отбор проб из резервуаров2.2.1. Перед отбором

Слайд 3Черт.1 Стационарный пробоотборник с перфорированной заборной трубкой  1 - перфорированная трубка; 2

- опорная стойка; 3 - кран Черт.2 Стационарный пробоотборник для отбора точечных проб с трех уровней 1 - кран; 2 - пробозаборные трубки; 3 - несущий рычаг; 4 - поплавок
Черт.1 Стационарный пробоотборник с перфорированной заборной трубкой  1 - перфорированная трубка; 2 - опорная стойка; 3 -

Слайд 4Для резервуара, у которого приемораздаточный патрубок находится в приемке, за нижний

уровень отбора пробы нефти принимают уровень на расстоянии 250 мм от днища резервуара.
Объединенную пробу нефти или нефтепродукта составляют смешением точечных проб верхнего, среднего и нижнего уровней в соотношении 1:3:1.
2.3.3. Точечные пробы из резервуара, в котором нефтепродукт компаундируется, при проверке однородности нефтепродукта отбирают по п.2.3.2 и анализируют отдельно.
По требованию представителя заказчика точечные пробы нефтепродукта отбирают через каждые 1000 мм высоты столба нефтепродукта, при этом точечные пробы верхнего и нижнего уровней отбирают по п.2.3.2. За начало отсчета первой 1000 мм принимают поверхность нефтепродукта.
Объединенную пробу составляют смешением одинаковых по объему точечных проб.
2.3.4. Точечные пробы при высоте уровня нефти или нефтепродукта в резервуаре не выше 2000 мм (или остаток после опорожнения) отбирают с верхнего и нижнего уровней по п.2.3.2.
Объединенную пробу составляют смешением одинаковых по объему точечных проб верхнего и нижнего уровней.
При высоте уровня нефтепродукта менее 1000 мм (остаток после опорожнения) отбирают одну точечную пробу с нижнего уровня по п.2.3.2.

Для резервуара, у которого приемораздаточный патрубок находится в приемке, за нижний уровень отбора пробы нефти принимают уровень

Слайд 52.4. Отбор проб из горизонтальных резервуаров
2.4.1. Точечные пробы нефти или нефтепродукта

из горизонтального цилиндрического резервуара диаметром более 2500 мм отбирают переносным пробоотборником с трех уровней:
 
верхнего - на 200 мм ниже поверхности нефти или нефтепродукта;
 
среднего - с середины высоты столба нефти или нефтепродукта;
 
нижнего - на 250 мм выше нижней внутренней образующей резервуара.
 
Объединенную пробу составляют смешением точечных проб верхнего, среднего и нижнего уровней в соотношении 1:6:1.
2.4.2. Точечные пробы нефти или нефтепродукта из горизонтального цилиндрического резервуара диаметром менее 2500 мм независимо от степени заполнения, а также из горизонтального цилиндрического резервуара диаметром более 2500 мм, но заполненного до высоты, равной половине диаметра и менее, отбирают с двух уровней: с середины высоты столба жидкости и на 250 мм выше нижней внутренней образующей резервуара.
 
Объединенную пробу составляют смешением точечных проб среднего и нижнего уровней в соотношении 3:1.
 
При высоте уровня нефтепродукта менее 500 мм отбирают одну точечную пробу с нижнего уровня по п.2.4.1.
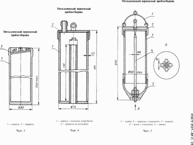
2.4.3. По требованию потребителя из горизонтального цилиндрического резервуара донную пробу нефтепродукта отбирают переносным металлическим пробоотборником (см. черт.4 и 5).

2.4. Отбор проб из горизонтальных резервуаров2.4.1. Точечные пробы нефти или нефтепродукта из горизонтального цилиндрического резервуара диаметром более

Слайд 7
От основного количества воды и твердых частиц нефти освобождают путем отстаивания

в резервуарах на холоду или при подогреве. Окончательно их обезвоживают и обессоливают на специальных установках. Однако вода и нефть часто образуют трудно разделимую эмульсию, что сильно замедляет или даже препятствует обезвоживанию нефти. В общем случае эмульсия есть система из двух взаимно нерастворимых жидкостей, в которых одна распределена в другой во взвешенном состоянии в виде мельчайших капель. Существуют два типа нефтяных эмульсий: нефть в воде, или гидрофильная эмульсия, и вода в нефти, или гидрофобная эмульсия. Чаще встречается гидрофобный тип нефтяных эмульсий. Образованию сойкой эмульсии предшествуют понижение поверхностного натяжения на границе раздела фаз и создание вокруг частиц дисперсной фазы прочного адсорбционного слоя. Такие слои образуют третьи вещества — эмульгаторы. К гидрофильным эмульгаторам относятся щелочные мыла, желатин, крахмал. Гидрофобными являются хорошо растворимые в нефтепродуктах щелочноземельные соли органических кислот, смолы, а также мелкодисперсные частицы сажи, глины, окислов металлов и т.п., легче смачиваемые нефтью чем водой.

Очистка нефти от примеси

От основного количества воды и твердых частиц нефти освобождают путем отстаивания в резервуарах на холоду или при

Слайд 8Существуют три метода разрушения нефтяных эмульсий: механический: отстаивание - применяется к свежим,

легко разрушимым эмульсиям. Расслаивание воды и нефти происходит вследствие разности плотностей компонентов эмульсии. Процесс ускоряется нагреванием до 120-160°С под давлением 8-15 ат в течение 2-3 ч, не допуская испарения воды. центрифугирование - отделение механических примесей нефти под воздействием центробежных сил. В промышленности применяется редко, обычно сериями центрифуг с числом оборотов от 3500 до 50000 в мин., при производительности 15 -45м3/ч каждая. химический: разрушение эмульсий достигается путем применения поверхностно-активных веществ — деэмульгаторов. Разрушение достигается а) адсорбционным вытеснением действующего эмульгатора веществом с большей поверхностной активностью, б) образованием эмульсий противоположного типа (инверсия ваз) и в) растворением (разрушением) адсорбционной пленки в результате ее химической реакции с вводимым в систему деэмульгатором. Химический метод применяется чаще механического, обычно в сочетании с электрическим. электрический: при попадании нефтяной эмульсии в переменное электрическое поле частицы воды, сильнее реагирующие на поле чем нефть, начинают колебаться, сталкиваясь друг с другом, что приводит к их объединению, укрупнению и более быстрому расслоению с нефтью. Установки, называемые электродегидраторами (ЭЛОУ - электроочистительные установки), с рабочим напряжением до 33000В при давлении 8-10 ат, применяют группами по 6 — 8 шт. с производительностью 250 — 500 т нефти в сутки каждая. В сочетании с химическим методом этот метод имеет наибольшее распространение в промышленной нефтепереработке.
Существуют три метода разрушения нефтяных эмульсий: механический:  отстаивание - применяется к свежим, легко разрушимым эмульсиям. Расслаивание

Слайд 9Настоящий стандарт устанавливает метод определении воды в нефти, жидких нефтепродуктах, пластичных

смазках, парафинах, церезинах, восках, гудрона и битумах.
Сущность метода состоит в нагревании пробы нефтепродукт нерастворимым в воде раство­рителем и измерении объема сконденсированной воды.
Стандарт не распространяется на битумные эмульсии.
Аппаратура, реактивы и материалы
При количественном определении содержания воды в нефтепродуктах применяются сле­дующие аппаратура, реактивы и материалы:
1) аппарат для количественного определения содержания воды в нефтяных, пищевых и других продуктах (Рисунок 1).
Допускается применить колбы типа К–1–500–29/32 ТС, К–1–1000–29/32 ТС, К–1–2000–45/40 ТС с переходом П–1–2–45/40–29/32 ТС по ГОСТ 25336 или металлический дистилляционный сосуд вместимостью 500, 1000, 2000 см3;
2) приемники-ловушки:
со шкалой 25 см3
со шкалой 10 см3 и 2 см3;
приемник–ловушка со шкалой 5 см3, с ценой деления 0,1 см3 с погрешностью не более 0,05 см3;
3) чашка фарфоровая № 4 или 5 по ГОСТ 9147;
4) цилиндр измерительный номинальной вместимостью 100 см3 по ГОСТ 1770;
5) горелка газовая или электрическое нагревательное устройство.
Для металлического дистилляционного сосуда применяют круговую газовую горелку с отверс­тиями по внутренней окружности. Размеры горелки должны позволять ее перемещение вверх и вниз вдоль дистилляционного сосуда во время испытания продуктов, склонных к пенообразованию или застыванию в дистиляционном сосуде;
 

Метод определения содержания воды 

Настоящий стандарт устанавливает метод определении воды в нефти, жидких нефтепродуктах, пластичных смазках, парафинах, церезинах, восках, гудрона и

Слайд 10Аппарат для количественного определения содержания воды

Аппарат для количественного определения содержания воды

Слайд 116) холодильник типа ХПТ с длиной кожуха не менее З00 мм

ГОСТ 25336;
7) палочка стеклянная длиной около 50 мм с резиновым наконечником или металлическая проволока такой же длины с утолщением на конце;
8)бензин – растворитель – нефрас;
9) хромовая смесь;
10) дистиллированная вода;
11)секундомер.
2.2.2 Проведение испытания
Пробу испытуемого жидкого нефтепродукта хорошо перемешивают пятиминутным встряхиванием в склянке, заполненной не более чем на ¾ емкости. Вязкие и парафинистые нефтепродукты предварительно нагревают до 40 – 50 °С.
В дистилляционную колбу вводят 100 см3 или 100 г пробы с погрешностью не более 1 %. Затем цилиндром отмеривают 100 см3 растворителя, тщательно перемешивают содержимое колбы до полного растворения испытуемого нефтепродукта и прибавляют в колбу несколько кусочков неглазурованного фаянса или фарфора. Для нефтепродуктов с низким содержанием воды количество растворителя может превышать 100 см3.
6) холодильник типа ХПТ с длиной кожуха не менее З00 мм ГОСТ 25336; 7) палочка стеклянная длиной

Слайд 12Аппаратуру собирают так, чтобы обеспечить герметичность всех соединений и исключить утечку

пара и проникания посторенней влаги. Верхний конец холодильника закрывают неплотным ватным тампоном во избежание конденсации атмосферной влаги внутри трубки холодильника. Включают нагреватель, содержимое колбы доводят до кипения и далее нагревают так, чтобы скорость конденсации дистиллята в приемник была от 2 до 5 капель в секунду. Перегонку прекращают, как только объем воды в приемнике – ловушке не будет увеличиваться и верхний слой растворителя станет совершенно прозрачным. Время перегонки должно быть не менее 30 и не более 60 минут. Оставшиеся на стенках трубки холодильника капельки воды сталкивают в приемник – ловушку стеклянной палочкой или металлической проволокой. После того как колба охладится, а растворитель и вода в приемнике – ловушке примут температуру воздуха в комнате, аппарат разбирают и сталкивают стеклянной палочкой или проволокой капельки воды со стенок приемника – ловушки. Если в приемнике – ловушке собралось небольшое количество воды (до 0,3 см3) и растворитель мутный, то приемник – ловушку помещают на 20 – 30 минут в горячую воду для осветления и снова охлаждают до комнатной температуры.

Аппаратуру собирают так, чтобы обеспечить герметичность всех соединений и исключить утечку пара и проникания посторенней влаги. Верхний

Слайд 132.2.3 Обработка результатов
Массовую (Х) или объемную (Х1) долю воды в процентах

вычисляют по формулам (2), (3)
 
 


где – объем воды в приемнике – ловушке, см3;
– масса пробы, г;
– объем пробы, см3.
 
За результат испытания принимают среднеарифметическое результатов двух определений. Результат определения округляют с точностью до 01 %.
Объем воды в приемнике – ловушке 0,03 см3 и меньше считается следами. В сомнительных случаях наличие воды проверяется методом потрескивания.
 

2.2.3 Обработка результатовМассовую (Х) или объемную (Х1) долю воды в процентах вычисляют по формулам (2), (3)  где

Что такое shareslide.ru?

Это сайт презентаций, где можно хранить и обмениваться своими презентациями, докладами, проектами, шаблонами в формате PowerPoint с другими пользователями. Мы помогаем школьникам, студентам, учителям, преподавателям хранить и обмениваться учебными материалами.


Для правообладателей

Яндекс.Метрика

Обратная связь

Email: Нажмите что бы посмотреть