Презентация, доклад по технической механике с основами технических измерений на тему Кинематические пары

Содержание

Цель урока:Повторить пройденный материал по теме: Детали машин и их назначение.Изучить типы кинематических пар (законспектировать их), познакомиться с их характеристиками.

Слайд 1Тема урока:
Типы кинематических пар. Кинематические и механические характеристики.

Тема урока:Типы кинематических пар. Кинематические и механические характеристики.

Слайд 2Цель урока:
Повторить пройденный материал по теме: Детали машин и их назначение.
Изучить

типы кинематических пар (законспектировать их), познакомиться с их характеристиками.
Цель урока:Повторить пройденный материал по теме: Детали машин и их назначение.Изучить типы кинематических пар (законспектировать их), познакомиться

Слайд 3Повторение пройденного материала
1. Простейшая неделимая часть машины это?

Повторение пройденного материала1. Простейшая неделимая часть машины это?

Слайд 42. Комплекс совместно работающих деталей это?

2. Комплекс совместно работающих деталей это?

Слайд 53. Устройство служащее для передачи механического движения?

3. Устройство служащее для передачи механического движения?

Слайд 64. Сочетание механизмов, которые служат для преобразования одного вида энергии в

другой или для выполнения полезной работы?
4. Сочетание механизмов, которые служат для преобразования одного вида энергии в другой или для выполнения полезной работы?

Слайд 75. Что такое машины-двигатели?
6. Что такое машины генераторы?
7. Что такое машины

– орудия?
8. Как классифицируются детали машин?
9. Что такое передачи и как делятся они в зависимости от принципа действия?
10. Как делятся передачи в зависимости от способа соединения ведущего и ведомого звена?
К каждому вопросу привести примеры
5. Что такое машины-двигатели?6. Что такое машины генераторы?7. Что такое машины – орудия?8. Как классифицируются детали машин?9.

Слайд 81. Понятие о кинематических парах

1. Понятие о кинематических парах

Слайд 9Соединение двух соприкасающихся звеньев, допускающее их относительное движение называют кинематической парой.


Сочленения, допускающие пространственное относительное движение называются пространственными кинематическими парами.

Сочленение, допускающее плоское относительное движение называются плоскими кинематическими парами.

Плоские кинематические пары подразделяются на вращательные, поступательные и высшие

Соединение двух соприкасающихся звеньев, допускающее их относительное движение называют кинематической парой. Сочленения, допускающие пространственное относительное движение называются

Слайд 102. Типы кинематических пар

2. Типы кинематических пар

Слайд 11 Вращательные кинематические пары.
Вращательные кинематические пары обеспечивают только
вращательное относительное движение
Винт
Корпус
Колесо
Болт
Звено

1

Звено 2

Гайка

Шарик

Вращательные кинематические пары.Вращательные кинематические пары обеспечивают только вращательное относительное движениеВинтКорпусКолесоБолтЗвено 1Звено 2ГайкаШарик

Слайд 12Поступательные кинематические пары
Поступательные кинематические пары обеспечивают только поступательное относительное движение
Ползун

Направляющая

Поступательные кинематические парыПоступательные кинематические пары обеспечивают только поступательное относительное движение ПолзунНаправляющая

Слайд 13Высшие кинематические пары
Высшими называются кинематические пары в которых соприкосновение звеньев

в сочленении происходит по линии или точке, отличии от низших пар, где соприкосновение происходит по поверхности (плоской, цилиндрической, сферической, конической и другим).

Высшие кинематические пары Высшими называются кинематические пары в которых соприкосновение звеньев в сочленении происходит по линии или

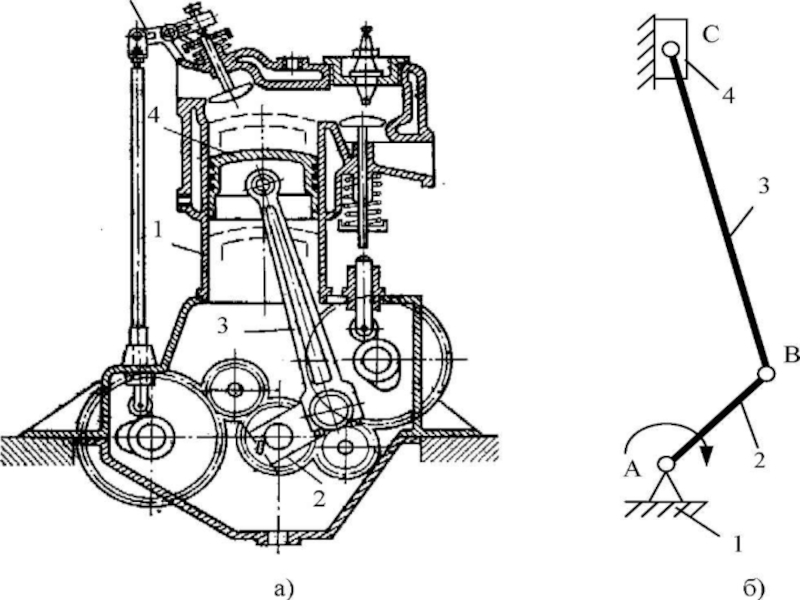
Слайд 14Пример структурного анализа механизма
Звено совершающее плоскопараллельное движение называется шатуном
Звено совершающее

полный оборот вокруг оси называется кривошипом;

Звено в виде двуплечего рычага совершающее неполный оборот вокруг оси называется коромыслом;

Звено совершающее прямолинейное движение вдоль неподвижной направляющей называется ползуном

1.Стойка

2.Кривошип

3.Камень кулисы

4.Коромысло(кулиса)

5.Шатун

6.Ползун

Неподвижное звено механизма называется стойкой

Коромысло служащее направляющей ползуна называется кулисой

Ползун совершающий поступательное движение вдоль кулисы называется камнем кулисы

Пример структурного анализа механизмаЗвено совершающее плоскопараллельное движение называется шатуном Звено совершающее полный оборот вокруг оси называется кривошипом;Звено

Слайд 16Кривошипно-ползунный механизм
Четырехзвенный рычажный механизм
Кулисный механизм

Кривошипно-ползунный механизмЧетырехзвенный рычажный механизмКулисный механизм

Слайд 173. Обозначение кинематических пар.

3. Обозначение кинематических пар.

Что такое shareslide.ru?

Это сайт презентаций, где можно хранить и обмениваться своими презентациями, докладами, проектами, шаблонами в формате PowerPoint с другими пользователями. Мы помогаем школьникам, студентам, учителям, преподавателям хранить и обмениваться учебными материалами.


Для правообладателей

Яндекс.Метрика

Обратная связь

Email: Нажмите что бы посмотреть