Презентация, доклад по строительным машинам тема Транспортирующие машины и оборудование

Презентация по строительным машинам тема Транспортирующие машины и оборудование Разное

Слайд 1Презентация
Тема 6.
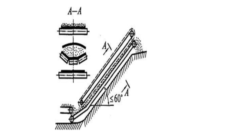
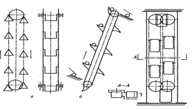
Транспортирующие машины и оборудование Ленточные и пластинчатые конвейеры,

эскалаторы. Ковшовые конвейеры и подъемники непрерывного действия. Винтовые и вибрационные конвейеры.
Презентация Тема 6. Транспортирующие машины и оборудование Ленточные и пластинчатые конвейеры, эскалаторы. Ковшовые конвейеры и подъемники непрерывного

Что такое shareslide.ru?

Это сайт презентаций, где можно хранить и обмениваться своими презентациями, докладами, проектами, шаблонами в формате PowerPoint с другими пользователями. Мы помогаем школьникам, студентам, учителям, преподавателям хранить и обмениваться учебными материалами.


Для правообладателей

Яндекс.Метрика

Обратная связь

Email: Нажмите что бы посмотреть