Презентация, доклад по дисциплине Гидравлика, раздел Гидропривод

Презентация по дисциплине Гидравлика, раздел Гидропривод Разное

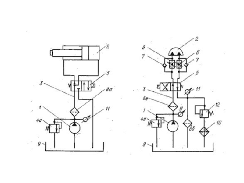
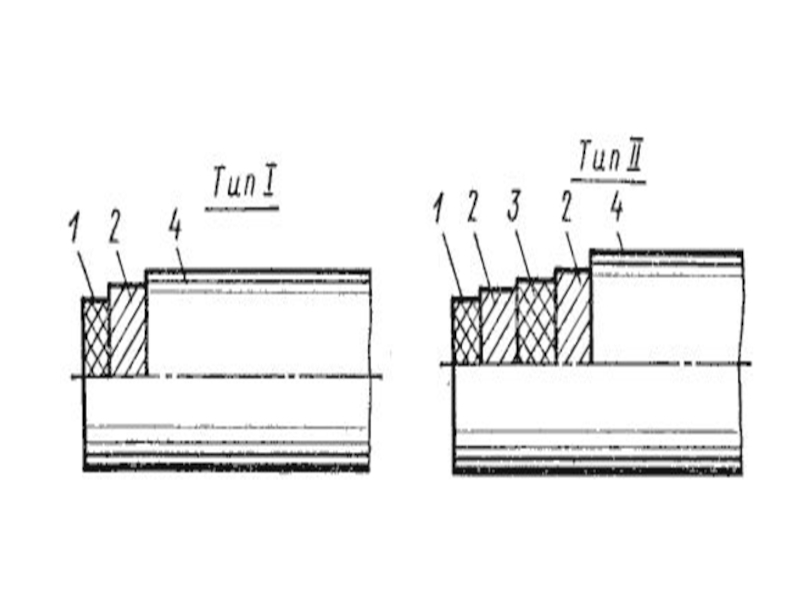
Слайд 1


Что такое shareslide.ru?

Это сайт презентаций, где можно хранить и обмениваться своими презентациями, докладами, проектами, шаблонами в формате PowerPoint с другими пользователями. Мы помогаем школьникам, студентам, учителям, преподавателям хранить и обмениваться учебными материалами.


Для правообладателей

Яндекс.Метрика

Обратная связь

Email: Нажмите что бы посмотреть