Презентация, доклад на тему Открытие клуба Механик

Цель клубаВосстановление поврежденных моделей механического оборудования, подбор запчастей для их последующего ремонта, составление ремонтно-технической документации

Слайд 1


Слайд 2Цель клуба
Восстановление поврежденных моделей механического оборудования, подбор запчастей для их последующего

ремонта, составление ремонтно-технической документации
Цель клубаВосстановление поврежденных моделей механического оборудования, подбор запчастей для их последующего ремонта, составление ремонтно-технической документации

Слайд 18Демонстрація роботи моделі
“Завантажувальний стіл”

Демонстрація роботи моделі “Завантажувальний стіл”

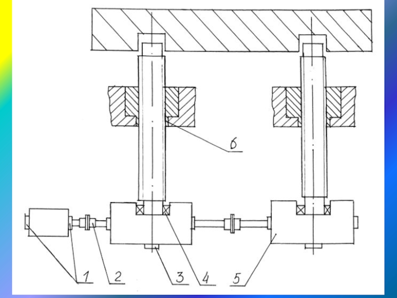
Слайд 24Поворотный стол в линии оборудования обжимного стана

Поворотный стол в линии оборудования обжимного стана

Слайд 271 7

2 3 5 4 6
1         7     2

Слайд 31Охрана труда и ТБ при ремонте

Охрана труда и ТБ при ремонте

Слайд 32Спасибо за внимание!

Спасибо за внимание!

Что такое shareslide.ru?

Это сайт презентаций, где можно хранить и обмениваться своими презентациями, докладами, проектами, шаблонами в формате PowerPoint с другими пользователями. Мы помогаем школьникам, студентам, учителям, преподавателям хранить и обмениваться учебными материалами.


Для правообладателей

Яндекс.Метрика

Обратная связь

Email: Нажмите что бы посмотреть